- Erleichtert das Hantieren und den Transport im Lager und in der Werkstatt
- Verwendbar zum Hochstapeln und Kurztransport
- Keine Funken durch statische Aufladung und keine elektromagnetischen Felder, somit auch geeignet für brennbare oder explosive Stoffe
- Robuste Stahlprofilkonstruktion mit hochwertigen Schweißnähten
- Feste Gabelbreite für stabiles Heben der Last
- Massiv gebaute Hebevorrichtung mit manuell zu betätigender Hydraulikpumpe
- Die Hebefunktion ist durch Fuß- und Handhebel besonders leicht und kraftsparend bedienbar
- Passt aufgrund seiner kompakten Bauweise gut durch alle Türöffnungen und vollbelegte Lagerhallen
- Ausgestattet mit verschleißarmen Laufrollen und drehbaren, kugelgelagerten Hinterrädern aus Nylon für leichtgängiges Fahrverhalten
- Ausgestattet mit langlebiger Feinmechanik
HerstellerStürmer Maschinen GmbH
Dr.-Robert-Pfleger-Str. 26, 96103 Hallstadt, Deutschland
info@stuermer-maschinen.de
Technische Daten:
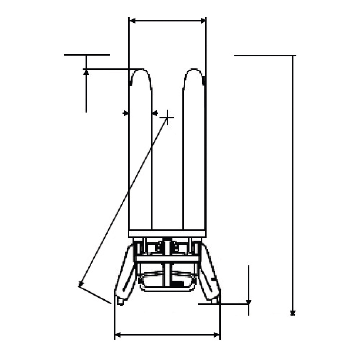
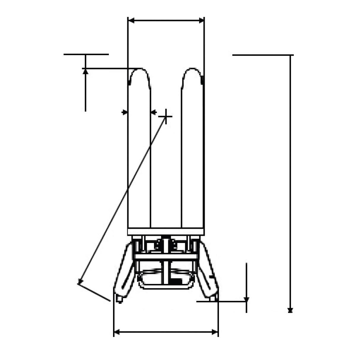
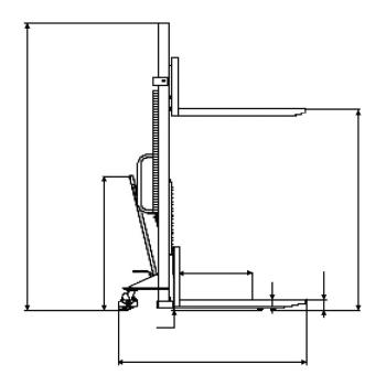
- Tragkraft: 1 t
- Tragbreite: 550 mm
- Gabelbreite: 170 mm
- Gabellänge: 1150 mm
- Hubbereich: 90 - 1600 mm
- Hub je Pumpbewegung: 22 – 25 mm
- Lenkeinschlag: 360 °
- Wenderadius: 1380 mm
Abmessungen und Gewichte
- Länge (Produkt) ca.: 1705 mm
- Breite/Tiefe (Produkt) ca.: 755 mm
- Höhe (Produkt) ca.: 1980 mm
- Gewicht (Netto) ca.: 230 kg
- Lenkrollendurchmesser: 147 mm
- Lenkrollenbreite: 40 mm
- Gabelrollendurchmesser: 83 mm
- Gabelrollenbreite: 60 mm